全国茶楼楼凤品茶,上海914桑拿论坛,2025小姐威客兼职论坛,广深楼凤qm论坛最新活动

特菱空调丨高效率机房提高冷却塔的散热效率

发布者:广东特菱空调 发布时间:2022-04-11
特菱空调丨高效率机房提高冷却塔的散热效率

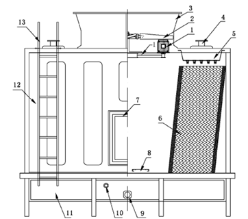
集中制制冷用空调系统中,每台冷却塔的冷却水量基本上都小于1,000m3/h,且装有淋水填料的横流机械通风开式居多。本文将已横流开式冷却塔为例,介绍下影响冷却塔效率的几点因素。下图所示为横流冷却塔示意图:

横流冷却塔

横流冷却塔

1.冷却塔电机和减速器 2.冷却塔风机 3.冷却塔风筒 4.进水口借口
5.冷却塔喷淋装置 6.冷却塔填料 7.冷却塔检修门 8.检修通道
9.冷却塔进水管接口 10.补给水管接口 11.冷却塔积水盘 12.冷却塔侧板
13.冷却塔爬梯

在研究影响冷却塔效率的几个因素之前,首先要了解下冷却塔效率是怎么来计算的。冷却塔效率计算公式如下所示:

冷却塔效率计算公式

冷却塔效率计算公式

影响冷却塔换热效率的三个因素:

1.冷却塔气流组织问题造成进气的湿球温度偏高而致使冷却塔效率低下

横流冷却塔循环

横流冷却塔循环

冷却塔回流是指由冷却塔排出的热湿空气被进风口吸入的现象?;亓鞯谋壤礁撸淙此肟掌氖蛭露染驮礁?。对于一些位置较差,周围有建筑构件遮挡的冷却塔,通风情况较差,容易出现回流比例过大的现象?;褂幸恍┒蕴ɡ淙此⒘豢渲胁糠掷淙此?,运行的冷却塔会吸入不运行冷却塔内部的潮湿空气。

2.冷却塔气流组织问题造成进气的湿球温度偏高而致使冷却塔效率低下

高效机房冷却塔

高效机房冷却塔

对于一个拥有多台冷却塔群的空调系统,冷却塔群的整体效率取决于冷却塔群整体的进出水温差。在有些系统中,虽然单台冷却塔效率正常,但由于未运行冷却塔不关水阀,造成冷却水旁通的问题,导致冷却塔群的整体效率偏低。

某空调系统有13台冷却塔,部分负荷时只运行其中的一部分,例如在过渡季只运行其中两台冷却塔,但其他11台冷却塔的水阀依然开启。风机运行中的冷却塔的出水温度为21℃,但进过混水后,冷却侧总回水温度高达29.5℃,导致冷却塔群效率整体降低。

3.冷却塔的水量偏大或风量偏小造成冷却塔效率偏低

高效机房冷却塔

高效机房冷却塔

在室外湿球温度和冷却塔换热面积一定的情况下,影响冷却塔效率的主要因素是冷却塔的风量和水量。目前冷却塔风机多数采用皮带轮传动,这种传动方式可靠性较差,易出现皮带打滑现象;同时风机的电机位于室外,受日晒雨淋影响,易损坏;此外,冷却塔在试运行过程中未有全部做风量测试,冷却塔的扇叶角度未调整到最佳位置;这些因素都将造成冷却塔的实际风量往往低于设计值。在现有的空调系统中,常发现冷却塔群整体水量适中,但由于冷却塔群之间局部水力不平衡导致某些冷却塔局部水量偏大,造成该部分过流的水量未经充分冷却便进入冷却水回水中,提升冷却水出冷塔整体温度,从而造成冷却塔效率偏低。

特菱空调推行的标准高效机房, 采用标准设备,在标准工况运行,目标EER不小于5.0是性价比较高的高效机房理念,有以下的优点:

技术风险低:标准设备(不采用非标产品)、标准工况(末端设备不受影响),施工及运维技术难度低。

采购风险低:大部份供货商都可参与投标。

成本造价低:相对非标设备高效机房便宜。

投资价值高:性价比高,投资回收期短(南方地区不超一年)。

维护保养:标准产品维修保养费用相对较低,设备备件供货快,成本低。

建设期合理可控:不采用非标设备,常规的设备生产期;标准设备的施工,施工队不需要通过特别培训或使用特别工艺,常规的施工期。

广东特菱空调的标准高效机房无需采用高新科技或非标产品,重点在于EER指标在工程每个环节中认真推行,由专业设计团队全程确保各环节聚焦于节能目标,从机房方案设计到系统调试及竣工后一年运行,全程参与,保证投资回收期满足预期。

相关文章

冷却塔收水器漂水的原因,冷却塔收水器漂水的解决方法
冷却塔收水器漂水的原因,冷却塔收水器漂水的解决方法

为什么圆形冷却塔收水器漂水?冷却塔收水器漂水怎么解决? 在我们的生活中,大多数用于处理废热的设备主要是冷却塔。圆形冷却塔的漂浮现象对冷却塔本身和周围设备环境有很大的影响。那么,圆形冷却塔漂浮的原因是

冷却塔滴水树脂?补漏,冷却塔底盘漏水维修处理方法
冷却塔滴水树脂?补漏,冷却塔底盘漏水维修处理方法

中央空调冷却塔底盘是装水的地方,因长年累月装水,很多时候出现底盘漏水,今天冷却塔厂家广东特菱空调给各位讲讲冷却塔底盘漏水维修处理方法。 中央空调冷却塔底盘漏水修补方案 由于冷却塔循环水底盘存在内外通

冷却塔管道阀门更换,凉水塔阀门怎么换
冷却塔管道阀门更换,凉水塔阀门怎么换

冷却塔厂家广东特菱空调提供各类冷却塔管路系统阀门的维修更换,凉水塔阀门怎么换?对冷却塔系统进行有效的设备管养,定期巡检。我们在长期的设备维系保养过程中发现,很多冷却塔系统的管路阀门因为长期不进行开关

超静音大扭角冷却塔风机
超静音大扭角冷却塔风机

冷却塔风机是冷却塔设备中的重要部件,其性能的优劣将直接影响到冷却塔的热工性能,因此在冷却塔风机的选择上对配套厂家进行严格要求的基础上,对系统中的一些关键部件,要求配套厂家进行处理,为业主提供高质量的

超静音冷却塔风机特点优势有哪些
超静音冷却塔风机特点优势有哪些

超静音冷却塔风机特点是环保与节能、维护成本低。超静音冷却塔风机的生产背景是,冷却塔在运行的过程中由于风机的转动抽风,在与空气的相互作用中,会产生很大的噪音,当冷却塔安装在居民区等对噪音控制要求比较高

冷却塔降噪就要找专业的,冷却塔噪声治理省钱省事还省心!
冷却塔降噪就要找专业的,冷却塔噪声治理省钱省事还省心!

冷却塔降噪的方法有许多种,市场上出现最多的是围避法,哪里发出噪音做个房子或隔音板隔起来就行了,但这不是噪声治理的根本办法,治标不治本,通俗易懂点讲,头疼、牙疼、脚疼都用止疼药来解决。根本解决不了冷却

冷却塔填料托架是什么,冷却塔填料托架更换注意事项
冷却塔填料托架是什么,冷却塔填料托架更换注意事项

冷却塔填料托架的作用是什么?冷却塔填料托架更换注意事项有哪些呢?冷却塔填料托架更换要注意着火事故,今天冷却塔厂家广东特菱空调(http://m.dkat.cn/)就带各位了解下一些关于冷却塔

性价比高冷却塔维修厂家,冷却塔配件5000平方米生产基地
性价比高冷却塔维修厂家,冷却塔配件5000平方米生产基地

冷却塔维修保养是十分有必要的的,冷却塔维修保养能够极大地提升冷却塔使用期限,降低冷却塔维修频率,提升冷却塔填料,冷却塔减速机,冷却塔收水器的产品的使用寿命,降低支出。 冷却塔维修尽可能交由技术专业的